Перейти к содержанию

  

172 пользователя проголосовало

  1. 1. Ваше отношение к Lada Vesta

    • Нравится
      120
    • Не нравится
      17
    • Российский автопром не перевариваю впринципе
      35


Рекомендуемые сообщения

Опубликовано

В смысле на ремонт в Екат ездил?

JF011E покрепче будет. Идет на движки 2 л и выше. Самый правильный.

JF015 - пошел с 2010 г,  который и поставили на весту . Конструктивно отличается.

Он и был с двигателем HR16. На меньший момент рассчитан.

https://www.transakpp.ru/232/main/Nissan/jf015.html

На форуме джука про ремонт этого вариатора:

https://juke.ru/viewtopic.php?f=13&t=6050

https://juke.ru/viewtopic.php?f=13&t=6840

Но по сравнению со срачем на фольксвагеновских форумах про ДСГ - это мало.

Опубликовано
В 28.10.2019 в 10:14, jimm031 сказал(а) :

А причины продажи авто? Ну и как тебе вообще вестоопыт.

Давай я расскажу.

У меня машине 2 года и 4 месяца

Пробег 53400км.

За данный период 2 серьезные поломки:

1. Пробег 30000км заклинил клапан в одном из цилиндров (в открытом положении). Завод признал брак.

Замена ГБЦ. (Хотя теперь я в этом не уверен). По гарантии.

Ремонт в эксперт авто Березники (горите в аду, су*и).

Шевелиться начали только через две недели после приема машины, и только после звонка на горячую линию Автоваза.

После ремонта появился расход масла (хотя до ремонта ни капли) и белый дым из трубы.

Процедура определения причины расхода в том же эксперт авто подразумевала несколько замен масла за мой счет, с последующей эксплуатацией в различных режимах, и каждый раз слив масла и взвешивание его до и после.

Нет у меня столько свободного времени.

В других ОД вешают пломбы, и через определенный пробег замеряют остаток, приходя к выводу и поиску возможных причин.

2. Пробег 49000 км

Прогорел клапан.

Вердикт автоваза - плохое топливо.

Спорить не стал машина была очень нужна.

В эксперт авто не поехал даже.

Эвакуатор-Пермь...8500р

Ремонт за мой счет - 14500р (замена клапана, маслосъемных колец (всех), форсунок).

Три дня и машина в строю.

В остальном мелочи по гарантии (втулки стаба и повторители в зеркалах). Даже лампочки все целые.

Не смотря ни на что, машина нравится. Удовлетворяет все потребности семьи из 4 человек.

Первая поломка может и брак, а вот по поводу второй я больше склоняюсь к криворукому ремонту после первого случая, потому что сейчас полностью пропал расход масла и дым.

(Понятно, что в морозы пар с трубы все равно идет, но до ремонта его даже летом видно было).

В эсперт авто больше ни ногой, езжу в Пермь.

Там быстрее, качественнее и значительно выше качество обслуживания.

Машину менять пока не собираюсь, ездим дальше.

 

 

  • Нравится 1
  • Спасибо 1
Опубликовано (изменено)
10 часов назад, Караванщик Али сказал(а) :

Кирилл, а движок какой? 1.6 или 1.8?

что за вопрос? 1.8 вобще не ремонтируется)) этож старые реношные разработки

просто меняют по гарантии. знакомый на 70 тыщ поменял на новый, опять обкатывает

сыну год назад рассматривали покупку весты с 1.8, хвала кредитному менеджеру))

так обсчитала, что машина к концу кредита 1,5 ляма выходила

поржали и забыли

 

Изменено пользователем autor59
Опубликовано
В 19.11.2019 в 18:54, Б/К сказал(а) :

Веста с вариатором.

осталось дождаться весту с каким-нибудь старым реношным дизелем

типа мегановского атмо 1.5

в паре с роботом это будет эпичный овощ

Опубликовано (изменено)

HR16DE на ноуте и тииде был со старым ниссановским 4-х ступенчатым автоматом. Автомат простой, без электроники. С ресурсом за 300 тык. Только масло менять. Вот эта связка была беспроблемная.  Эти же коробки на гранты ставили.

На джуки уже народ начал вкорячивать эти акпп вместо вариатора.

Если бы в весту такой комплект воткнули - был оч надежный аппарат. Ну и фен бы до кучи.

28176-2.png

Изменено пользователем Б/К
Опубликовано
26 минут назад, Б/К сказал(а) :

HR16DE на ноуте и тииде был со старым ниссановским 4-х ступенчатым автоматом. Автомат простой, без электроники. С ресурсом за 300 тык. Только масло менять. Вот эта связка была беспроблемная.  Эти же коробки на гранты ставили.

На джуки уже народ начал вкорячивать эти акпп вместо вариатора.

Если бы в весту такой комплект воткнули - был оч надежный аппарат. Ну и фен бы до кучи.

28176-2.png

зачем тебе фен? в любой мороз в Весте жарища.

  • Нравится 1
Опубликовано (изменено)
3 часа назад, Б/К сказал(а) :

С вазовским чугунным двигателем.

Сейчас у меня люминь...и? Все так же жарища в машине. Может кто-то хреновый истопник? Но больше я склоняюсь к тому, что все ваши утверждения на инет-вбросах основаны. Вы - теоретик!

Изменено пользователем DN
  • Нравится 1
Опубликовано
19 минут назад, DN сказал(а) :

все ваши утверждения на инет-вбросах основаны

Ну, почему сразу на "вбросах"?

Люди описывают свои проблемы. Вам, возможно, повезло с автомобилем.

А у других, может, заслонки  климат-системы неправильно работают?

Опубликовано
6 часов назад, autor59 сказал(а) :

что за вопрос? 1.8 вобще не ремонтируется)) этож старые реношные разработки

хм...чего там реношного или шутишь?

Опубликовано
17 часов назад, Zidane сказал(а) :

Давай я расскажу.

А чего вестосообщество говорит? Это типично для 129?

Опубликовано

C3,14зжено с аналогичной темы одного популярного ресурса:

Ну как сказать. На вкус и цвет. Но я за поло. Работая с этими вестами каждый день.... и читая чат вестоклуба Минск. Это пздц. Когда блин гарантия бортует с гарантией с расходом масла 800 на тыщу. Через одну пропуски по зажиганию. Корейский маслонасос который на верху 4ку от силы вместо Овер 6ти давит. Цветные гильзы. Робот.... отдельная тема. Блок бцм- защиты ноль.Коротнул лампу и в лучшем случае блокировка блока. В худшем поехал за новым. Пустые системы кондиционирования с завода на треити машин. Утечка в сезон больше половины фреона 70%. Ну и отдельно это красная изолента по ободку спидометра. Счетоводы. И битумная вибра резонатора впуска. Удар по морде для страховой становится пол стоимости нового авто в 30 процентах. При минимально потрёпанных концах лонжерона. В кроссе исключительно левая облицовка порога не лицуется с аркой передней. Фонари в седановских крышках стоят один глубже другого. Нет блять. Поло. А ещё лобовики турецкие. Нити обогрева слетают не так часто но обращения есть. Сейчас на рынке в Беларуси только агц аналог. Орига на складах Лады имидж нету. И хер пойми когда будет. Некоторые зч по кузовне хрен купить. Или сроки под месяц. Владельцы которые задроты с болезнью Веста головного Могза. Как будто нигде не работают. Ночуют на диллере и ебут мозги как будто у них кайен. Скрипучий стаб. Барабанящие задние стойки. Без обид. ИМХО (перечислять ещё овердохера).

Опубликовано
51 минуту назад, jimm031 сказал(а) :

А чего вестосообщество говорит? Это типично для 129?

Не нашел ничего подобного.

На драйве писал о поломках, никто в комментах не ответил, что у него так же было.

Опубликовано (изменено)
В 21.11.2019 в 14:18, DN сказал(а) :

Сейчас у меня люминь...и? Все так же жарища в машине. Может кто-то хреновый истопник? Но больше я склоняюсь к тому, что все ваши утверждения на инет-вбросах основаны. Вы - теоретик!

Я практик, на ниссцане езжу. Никогда у меня не было такой холодной машины. Картонка, одеяло, доп тройник в шланг. Один хрен медленно греется..

http://x-trail-club.ru/forums/topic/25674-padaet-temperatura-dvizhka-mr20-pr-rabote-na-holostyh-i-vklyuchennoy-pechke/#comments

http://x-trail-club.ru/forums/topic/36484-holodno-v-mashine/

https://www.qashqai-club.ru/forum/topic/726/?page=1

http://www.qashqai-city.ru/forum/viewtopic.php?f=19&t=14395

 

Веста с вариатором - тот же кашкай в другой будке.

Не было на вестах люминя. Чугуний там испокон веков.

 

Изменено пользователем Б/К
Опубликовано
8 минут назад, Неуловимый сказал(а) :

Сколько знаю людей, ездящих на ниссанах, все жалуются, что холодная машина... 

Лет ...дцать назад у меня 8-ка с низкой панелью была. В 30-ку мороза можно было в футболке в салоне сидеть! Потом были 08, 09 с высокой панелью - так печка уже не грела.

Опубликовано
11 минут назад, Kersh сказал(а) :

печка уже не грела.

Ну, теоретиццки, ОЖ нагревается до рабочей температуры (90 градусов)?

Через радиатор печки проходит? Радиатор без изменения остался, или меньшим стал по площади?

Значит, дело в заслонках. Где-то идет подсос холодного воздуха, вот уже и не Африка...

Опубликовано

Видимо конструктивно в этом плане высокая панель уступала низкой... подозреваю что с нуля с порше ваз разрабатывал восьмое семейство, а потом уже как обычно ))

Опубликовано
9 минут назад, Kersh сказал(а) :

Видимо конструктивно в этом плане высокая панель уступала низкой

С тепловизором было бы хорошо протестировать - куда тепло девается после радиатора печки...

Опубликовано
44 минуты назад, Неуловимый сказал(а) :

Сколько знаю людей, ездящих на ниссанах, все жалуются, что холодная машина... 

на х-тр мерзли

поставили доп.насос в подачу  печки - африка

Опубликовано (изменено)

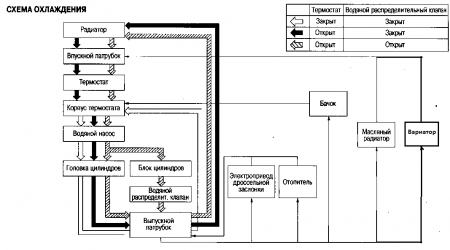
Схемки охлаждения по этому двигателю с вариатором. Два термостата - три режима.

Всегда идет ч/з головку блока, дроссельную заслонку, печку,  теплообменник масляного фильтра, вариатор и бачок расширительный.

Т.е. двигателю после пуска надо нагреть до 70 град хотя бы: сам двигатель 120 кг с маслом 4 л, вариатор 70 кг с маслом 8 л, терять тепло в дроссельной заслонке от холодного воздуха и в расширительном бачке, и еще салон не маленький нагревать.

В итоге в городе начинает дуть теплым, когда уже приехал. На трассе салон прогревается минут ч/з 20.

Что в весте сделали по отоплению - любопытно. Печку могли потолще и побольше площади воткнуть. И фсё пожалуй..

L4AAAgOc4eA-960.jpg

4-42.png

53 минуты назад, autor59 сказал(а) :

поставили доп.насос в подачу  печки - африка

поставил на выходе из печки бошевскую помпу 0392023004, не ощутил пока африки. Шланг на дроссель пережать, что-ли, чтобы не циркулировало лишнее.

На иномарке колхоз, как на вазе?

Изменено пользователем Б/К

Для публикации сообщений создайте учётную запись или авторизуйтесь

Вы должны быть пользователем, чтобы оставить комментарий

Создать аккаунт

Зарегистрируйте новый аккаунт в нашем сообществе. Это очень просто!

Регистрация нового пользователя

Войти

Уже есть аккаунт? Войти в систему.

Войти
×
×
  • Создать...